考注冊安全工程師有什么用
用處一:“一證兩用”,可用來評職稱
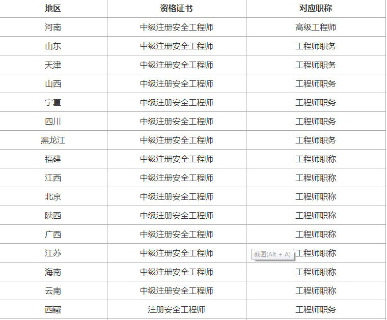
一般來說,考注冊安全工程師的人大部分都是工程師,需要評職稱。而目前,職稱可以“以考代評”,考下中級注冊安全工程師直接對應中級職稱!
但是,青海、山東、天津、山西、寧夏、黑龍江、陜西、云南等省份明確不再發放職稱證書,這個時候,注冊安全工程師證書就可以“一證兩用”了!
各地區注冊安全工程師對應職稱一覽表


用處二:可領取1000-2000元技能補貼
根據國務院印發的《職業技能提升行動方案(2019—2021年)》,安全工程師證書也可申領技能補貼了。截至目前,山東、浙江、四川、海南、湖北、安徽等省都已發文明確持有職業資格證書可申領證書補貼。一般來說,初級注冊安全工程師可申領1000元,中級1500元,高級2000元。

用處三:可抵消3600元個稅
申報過個人所得稅的人都知道,在個人所得稅專項附加扣除中,可以申報繼續教育專項附加扣除。而中級注冊安全工程師證書就屬于繼續教育專項附加扣除中技能人員職業資格繼續教育的一種。根據規定,技能人員職業資格繼續教育、專業技術人員職業資格繼續教育支出,在取得相關證書的年度,按照每年3600元定額扣除。
因此,考下注冊安全工程師證書,就可抵消3600元個人所得稅了!
用處四:可讓你升職加薪
隨著國家對安全問題的重視,一系列政策文件的出臺,很多單位硬性規定相關員工必須考注冊安全工程師證書,拿證后會有直接的獎勵,當然,也有升職加薪的機會。
以上是國家注冊注冊安全工程師證書常見問題,今日網校還提供國家注冊注冊安全工程師證書常見問題、學習資料課程等,歡迎大家注冊學習!
名師輔導
環球網校
建工網校
會計網校
新東方
醫學教育
中小學學歷